







Wall Mounted CCTV Poles - Tubular and Square
Wall Mounted CCTV Poles - Tubular and Square - Available to be mounted on a flat wall or on the corner.
This solution offers a cost-effective way to achieve the desired camera height, with off-the-shelf models available up to 6 meters. Standard models provide up to 4 meters of clearance above roofs, parapets, and walls, ensuring excellent stability thanks to a rigid structure. There are various stand-off brackets available to clear facias, gutters, and copings, and the modular construction makes transportation and erection simple. Wall and corner-mounted CCTV camera poles are also available, and the hot-dipped galvanized finish provides maximum weather protection and minimal maintenance requirements. Additionally, custom modifications for wall poles can be tailored to meet the specific needs of the customer.
**LEAD TIME IS 1 TO 2 WEEKS TO MOST UK POSTCODES. COLLECTION MAY BE POSSIBLE, CONTACT US TO FIND OUT MORE INFORMATION**
We can also offer bespoke poles to suit your requirement. Contact us for more information. Other heights are also available but not kept in stock. Lead time for these requests is around 3 to 5 weeks.
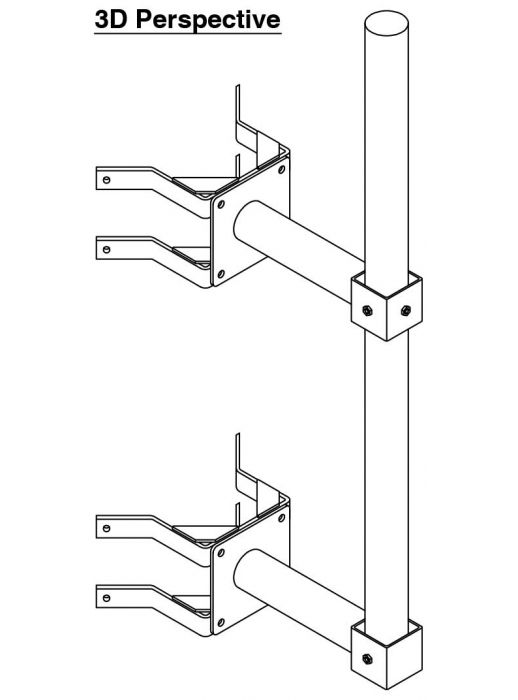
Key Features & Benefits:
✅ Flexible Mounting Options
Choose between Flat Wall Mount or Corner Wall Mount for bolt-down installations.
✅ Robust, Future-Proof Build
Hot-dipped galvanized to BS EN ISO 1461:2009 standards, this column resists corrosion, rust, and UV degradation, even in coastal or high-humidity settings.
✅ Seamless Customisation
Customise the column to your project’s needs:
• Finishes: Standard Hot Dipped Galvanized. Any RAL colour (upon request).
✅ Manufactured to multiple standards
• Structural Steelwork: BS EN 10210-1:1994, BS EN 10210-2:1997
• General Steelwork: BS1449:1991, BS1387:1985, BS EN 10025:1993
• Welding Procedures: Comply with BS EN 1011-2:2001
• Fasteners: Grade 8.8 BS3692:2001, BS4190:2001, DIN93 I, DIN934
• Design Wind Loading: In accordance with CP3 chapter V Pt 2 & BS 6399 Pt 2:1997
Technical Specifications:
• Standard pan and tilt fixing of 101.6 PCD.
• Stand off brackets 150mm / 300mm / 500mm / 1000mm
• Equipment loading of up to 25kg
• Standard heights avaulable up to 6 metres
• Compatible with adaptors, accessories and anti climbs
Customisation Options Available!
Need a specific RAL colour? Contact our Sales Team at 01536 264064 or enquiries@wydels.co.uk to discuss bespoke solutions.
Downloads:
